Enjeksiyon kalıplama makineleri, oluşan ortak soğutucular parçaları nelerdir? Nasıl çalışır?
Daha yaygın olarak kullanılan soğutucu yılan şekilli boru tipi ve sütun boru tipi yapılardır. Aşağıdaki şekilde ortak sütun tüp soğutucu yapısını gösterir.
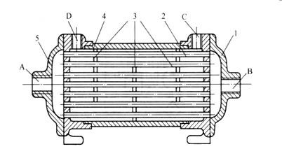
Tablodan sütun tüp su boru montaj birlikte, soğutma birden çok satıra göre serin bkz: dairesel bir kat kat biter son kapak, Boru uçları tarafından düzenlenmesi mühürleme için birbirine bağlı, soğutma su girişi ve diğer ucunu sonunda iç yüklü. Belirli bir miktar ısı Hidrolik yağ akışının soğutucu, soğutma su akışı arasındaki tüp duvar, kızgın yağ ve soğuk alışverişi yoluyla soğutma su ve ısı iletim metal duvar, yağ sıcaklığı azalır yapmak üst kat ve o zaman üstünde diğer ucundan. Kızgın yağ ve soğutma nargile ve manto kavite zaman içinde kalış temas bölgesinin artırmak, birkaç fıçı tahtası döneminde vücut ayarlamak için çeşitli parçalara soğutma boruları uzatmak rota kızgın yağ akıyor ve sıcak ve soğuk orta iletken zaman genişletilmiş, iyi kızgın yağ soğutma ve soğutma etkisi elde etmek.

Borulu yağ soğutucu yapısı
1 - son kapak boru soğutma 2--3 - fıçı tahtası; 4 - kat; 5 - plaka; sona A - orta giriş deliği soğutma; B - orta çıkış deliği soğutma; C - Hidrolik yağ giriş deliği; D - Hidrolik yağ çıkış deliği














